Mission
fast4shop´s mission is twofold:
Transform the in-store experience by drastically reducing purchase time.
Provide valuable and reliable information for the company in real time, optimizing the management of its value chain.
Momentum
The fast4shop model elegantly solves the technological factor that has kept the grocery sector from being able to deploy RFID technology since the beginning of the century.
The other limiting factor, the cost of the RFID tag, has recently reached around 2 c$. The pending 4.0 reconversion and the abandonment of the barcode (Woodland, 1952) are becoming profitable for the grocery sector due to an item identification that:
Offline to Online. It transfers 80% of the human resources from the store’s checkouts to the online operations.
Eliminates product scanning and facilitates self-service and self-payment for customers, reducing the stay in the venue.
Controls and mechanizes perishable items with EPC code and facilitates omnichannel inventory in real time.
Ensures traceability at the unit item level (SKU).
Its time to face the Challenges of the most mature Sector.
Technology
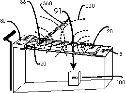
fast4shop’s unique heuristic and proprietary identification method is designed for a secure and unattended purchase transaction based on the collaboration of three sensors:
UHF / RFID, taking advantage of the Near Field
Passthrough control with photoelectric curtain
Infrared hovering/approach detection
These sensors are integrated into a frame adapted to different shopping experiences, allowing the acquisition of products without scanning (even liquid items and with metal containers) with self-service and self-checkout.
fast4shop patents granted and pending in 43 countries::
ES2662696B1, US10073996B2, CN108885753A, EP3509028A1, JP2019533263A, IN201927005706A, BR112019004169A2
See background, current moment, evolution and forecasts of fast4shop in Milestones 2016/2037 .
Retail RFID 4.0
Shopping cart for self-service and self-payment by customers in grocery stores.
Base technology:
RFID identification, photoelectric and infrared detection.
Shopping basket for self-service and self-payment by customers in grocery, sporting goods and clothing stores.
Base technology:
RFID identification, photoelectric and infrared detection, EAS / AM-RF anti-theft sensors.
Cashier for self-service and self-payment by customers in unattended or semi-attended minimarket that includes delivery of products in vending machines by avatar recognition.
Base technology:
RFID identification, photoelectric and infrared detection, EAS / AM-RF anti-theft sensors, Vision / ML for FAR (Formal Avatar Recognition).
RFID Frame for order picking by pickers in an online service warehouse with product delivery robots.
Base technology:
RFID identification, photoelectric and infrared detection.